(주)한구조기술사사무소

㈜한구조기술사사무소

건축물 구조안전과 고객 만족의 완벽한 조화

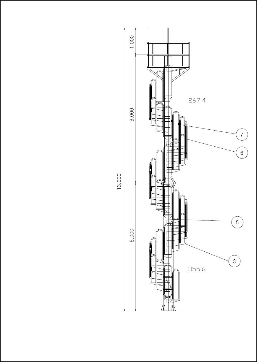
나선형 계단 구조검토 (발주처 : 한국철도공사)

페이지 정보

profile_image
작성자 최고관리자
댓글 0건 조회 40회

본문

fb8d7c8ba1147a3b8de8459d303b93bc_1711629749_7148.jpg
fb8d7c8ba1147a3b8de8459d303b93bc_1711629753_3518.jpg
fb8d7c8ba1147a3b8de8459d303b93bc_1711629753_4595.jpg
fb8d7c8ba1147a3b8de8459d303b93bc_1711629753_5491.jpg
fb8d7c8ba1147a3b8de8459d303b93bc_1711629753_6635.jpg
fb8d7c8ba1147a3b8de8459d303b93bc_1711629753_7901.jpg
fb8d7c8ba1147a3b8de8459d303b93bc_1711629753_9115.jpg
fb8d7c8ba1147a3b8de8459d303b93bc_1711629754_013.jpg
 

댓글목록

등록된 댓글이 없습니다.

블로그
카카오톡